
我們專業做異形模具和異形塑料件
開模不成功,退還全部開模費
全國咨詢熱線:
13932815220
13932815220
塑料加工廠在塑料制品注塑生產時,會遇到產品變色發黃的時候,我們根據經驗來總結了以下幾種原因;
材料:1、使用不適合的色母粒,耐熱性不足,造成原料在料筒內已變色或發黃。
2、除濕干燥溫度過高或時間過長,使材料本身變色。具澆口太小, 注射過程中,產生了剪切熱,使材料發生分解。
注塑工藝:1、熔融料溫過高。
2、材料在料筒中滯留時間過長。
3、注射速度太快,流動過程中有過大的剪切熱產生。
4、生產過程中有不正常停機。

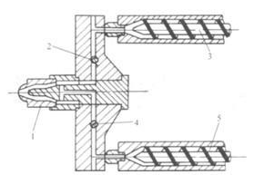
注塑生產中,所謂雙色注塑成型,是指將兩種不同色澤的塑料注入同一模具的成型方法。它能使塑件出現兩種不同的顏色,并能使塑件呈現有規則的圖案或無規則的云紋狀花色,以提高塑件的實用性和美觀性。 雙混色注塑成型 注塑加工廠家生產中,如下圖所示為雙混色注

塑料制品的翹曲變形是塑料件常見的成型質量缺陷。 塑料件的題曲變形主要是因為塑料件受到了較大的應力作用,主要分為外部應力和內部應力,當大分子間的作用力和相互維結力承受不住這種應力作用時,塑料件就會發生旭曲變形。外部應力導致的想曲變形此類翹曲變形主要為制件頂出變形,產生的原因為模

注塑成型是一門工程技術,它所涉及的內容是將塑料轉變為有用并能保持原有性能的制品。開模注塑注射成型的重要工藝條件是影響塑化流動和冷卻的溫度,壓力和相應的各個作用時間。 1、料筒溫度:注射模塑過程需要控制的溫度有料筒溫度,噴嘴溫度和模具溫度等。前兩程溫度

塑料模具廠在注塑加工塑料制品中,會有冷流道就是所謂的“無流道”加工熱塑性樹脂的方式,冷流道模具可用來加工熱固性樹脂與彈性體材料。因為這類材料一旦產生交聯或 硫化反應,流道系統通常不能再回收加工,這一-點是所有里面最為重要的。冷流道的目的是將熱固性樹脂或彈性體材料的加工溫度保持在一定

注塑加工的塑膠件噴油表面處里工藝,協助塑膠成型時無法達到的表面要求功能用途1.光亮度提高(讓產品更光亮,如手機殼)2.啞光度提高(讓產品更高檔,如電腦外殼,音箱外殼)3.表面硬度提高(讓產品更耐磨,如游戲機按鍵)4.表面手感提高(讓手感更好有皮革或軟膠感,如手機外殼)塑膠件噴漆就是噴油,基本是相同的塑